Категории
Кран шаровой латунный TEMPER н/н бабочка для газа
Характеристики
Макс. температура (Т) °С.: Температура рабочей среды от -60°С до +80°С.
Мин. температура (Т) °С.: до -60 °С
Класс герметичности: Класс «А» ГОСТ 9544-2015
Срок службы: 30 лет (при соблюдении правил эксплуатации, требований к составу рабочих сред)
Гарантийный срок: 5 лет
Материалы корпуса: Латунь ЛС59-1В
Присоединение: резьба наружная/наружная
Номинальное давление: 2,5 Мпа, 4,0 Мпа.
ПаспортТип присоединения: резьба внутренняя / внутренняя
Форма рукоятки: бабочка
Рабочие среды: природный газ, сжиженный углеводородный газ, газообразные среды и другие неагрессивные для материалов деталей крана.
Модификации
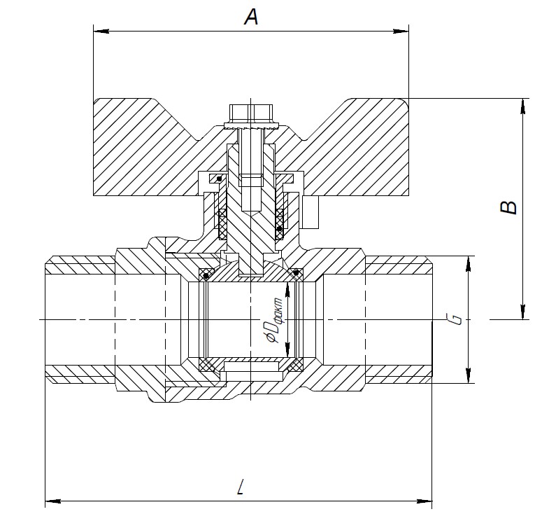
| Артикул | DN | PN | L | A | B | D | G | Масса, г | Коробка / шт | |
|---|---|---|---|---|---|---|---|---|---|---|
| 8315ННБ1240 | 15 | 40 | 64 | 52 | 36,5 | 12,5 | 1/2 | 162 | 25 | |
| 8320ННБ3440 | 20 | 40 | 66 | 52 | 38,5 | 15 | 3/4 | 217 | 18 |