Категории
Кран шаровой стандартнопроходной 284 с фланцем для установки привода
Характеристики
Макс. температура (Т) °С.: до +200 °С
Мин. температура (Т) °С.: до -40 °С (исп. У), до -60 °С (исп. ХЛ)
Класс герметичности: Класс «А» ГОСТ Р54808-2011
Срок службы: Не менее 25 лет
Гарантийный срок: 3 года или не менее 10 000 циклов
Материалы корпуса: Сталь 20/09Г2С/12Х18Н10Т
Тип присоединения:
фланцевое/фланцевое
Рабочая среда:
Теплосетевая вода, нефтепродукты, ГСМ и другие рабочие среды, неагрессивные для материалов деталей крана.
Модификации
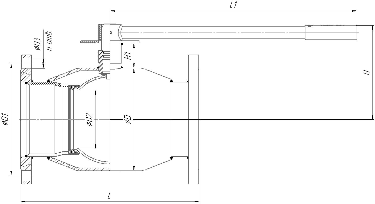
| Артикул | DN | PN | L | L1 | H | H1 | D | D2 | D3 | D4 | n отв. | Вес,кг | |
|---|---|---|---|---|---|---|---|---|---|---|---|---|---|
| 28420150 | 150 | 25 | 380 | 526 | 200,8 | 58,3 | 219 | 125 | 250 | 26 | 8 | 37,77 | |
| 28420200 | 200 | 25 | 450 | 525 | 221 | 46,5 | 273 | 148 | 310 | 26 | 12 | 56,4 | |
| 28420250 | 250 | 25 | 530 | 1019,5 | 275,6 | 61,8 | 351 | 200 | 370 | 30 | 12 | 95,33 | |
| 28420300 | 300 | 25 | 750 | - | 414 | 101 | 426 | 240 | 430 | 30 | 16 | 163,00 | |
| 28420350 | 350 | 25 | 750 | - | 464 | 100 | 530 | 300 | 490 | 33 | 16 | 282,00 | |
| 28420400 | 400 | 25 | 880 | - | 464 | 100 | 530 | 300 | 550 | 33 | 16 | 357,00 | |
| 28420500 | 500 | 25 | 990 | - | 561 | 103 | 630 | 390 | 660 | 39 | 20 | 617,00 | |
| 28420600 | 600 | 25 | 1173 | - | 664 | 104 | 820 | 500 | 770 | 39 | 20 | 1035,00 |